




如果您无法下载资料,请参考说明:
1、部分资料下载需要金币,请确保您的账户上有足够的金币
2、已购买过的文档,再次下载不重复扣费
3、资料包下载后请先用软件解压,在使用对应软件打开
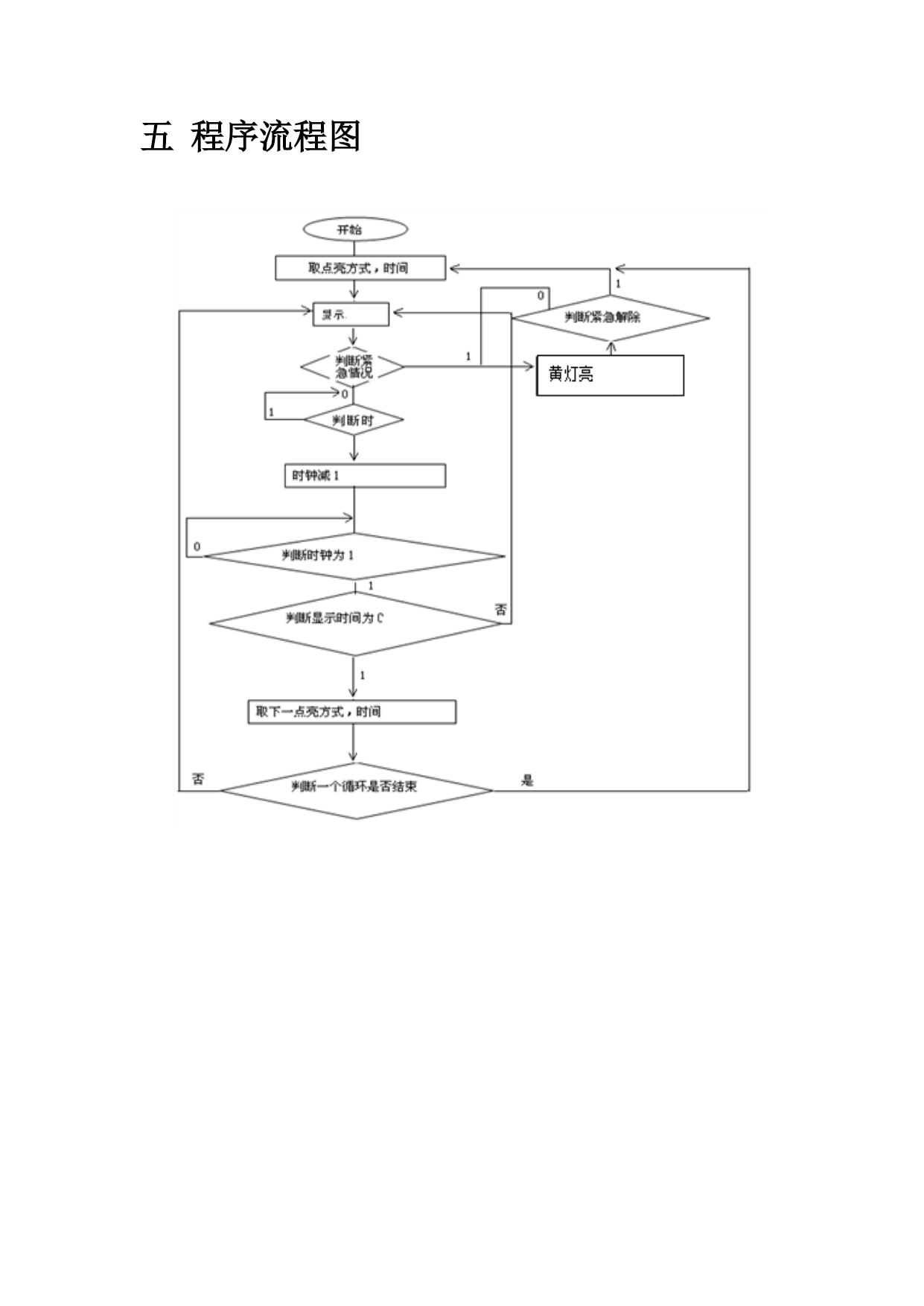
一课程设计的目的和任务课程设计是培养和锻炼学生在学习完本门课后综合应用所学理论知识,解决实际工程设计和应用问题的能力的重要教学环节。它具有动手、动脑和理论联系实际的特点,是培养在校工科大学生理论联系实际、敢于动手、善于动手和独立自主解决设计实践中遇到的各种问题能力的一个重要教学环节。通过课程设计,要求学生熟悉和掌握微机系统的软件、硬件设计的方法、设计步骤,使学生得到微机开发应用方面的初步训练。让学生独立或集体讨论设计题目的总体设计方案、编程、软件硬件调试、编写设计报告等问题,真正做到理论联系实际,提高动手能力和分析问题、解决问题的能力,实现由学习知识到应用知识的初步过渡。通过本次课程设计使学生熟练掌握微机系统与接口扩展电路的设计方法,熟练应用8086汇编语言编写应用程序和实际设计中的硬软件调试方法和步骤,熟悉微机系统的硬软件开发工具的使用方法。通过课程设计实践,不仅要培养学生事实求是和严肃认真的工作态度,培养学生的实际动手能力,检验学生对本门课学习的情况,更要培养学生在实际的工程设计中查阅资料,撰写设计报告表达设计思想和结果的能力。二设计内容交通灯控制系统1.利用8253定时,8259中断及8255设计电路,实现十字路口交通灯模拟控制。2.实现能自动控制和手动应急控制。(◆)3.实现能随时可以调整自动模式的绿灯和红灯时间。(☆)三设计原理在Proteus环境下,结合课程设计题目,设计硬件原理图,搭建硬件电路软件设计1、采用模块化程序结构设计软件,可将整个软件分成若干功能模块。2、画出程序流程图。3、根据流程图,编写源程序。4、在Proteus环境下,仿真调试程序四硬件电路译码电路82558253交通灯部分五程序流程图六程序代码A_PORTEQU200HB_PORTEQU202HC_PORTEQU204HCTRL_PORTEQU206HCLK0EQU100HCLK1EQU102HCTRLEQU106HDATASEGMENTBUF1DB09H,11H,21H,12H,0CH,4AH,89H,49HBUF2DB0C9H,0A3H,99H,93H,99H,13H,19H,23H,0HDATAENDSSTACKSEGMENTPARASTACK'STACK'DB100DUP(?)STACKENDSCODESEGMENTASSUMECS:CODE,DS:DATA,SS:STACKSTART:MOVAX,DATAMOVDS,AXMOVAX,STACKMOVSS,AXMOVAL,10010000BMOVDX,CTRL_PORTOUTDX,ALMOVAL,0MOVDX,B_PORTOUTDX,ALMOVDX,C_PORTOUTDX,ALCALLPLAYLEASI,BUF1LEABX,BUF2AAA1:MOVCH,[BX]MOVCL,CHANDCL,00001111BCALLSHOW1CALLDELAYCALLSHOW2CALLDELAYJMPAAA6AAA4:MOVDX,A_PORTINAL,DXANDAL,00000001BCMPAL,00000000BJNZAAA7MOVAL,01010010BMOVDX,B_PORTOUTDX,ALMOVAL,00100000BMOVDX,C_PORTOUTDX,ALJMPAAA4AAA7:MOVDX,A_PORTINAL,DXANDAL,00000010BCMPAL,00000000BJNZAAA4CMPCL,0JNZAAA5INCSIINCBXMOVAL,[BX]CMPAL,0JNZAAA1JMPSTARTAAA5:DECCLDECCHCALLSHOW2CALLDELAYAAA6:MOVDX,A_PORTINAL,DXANDAL,00000010BCMPAL,00000010BJNZAAA6JMPAAA4SHOW1PROCMOVAL,[SI]MOVDX,B_PORTOUTDX,ALRETSHOW1ENDPSHOW2PROCMOVAL,CHMOVDX,C_PORTOUTDX,ALRETSHOW2ENDPPLAYPROCMOVAL,00110111BMOVDX,CTRLOUTDX,ALMOVAX,10MOVDX,CLK0OUTDX,ALMOVAL,AHOUTDX,ALMOVAL,01110111BMOVDX,CTRLOUTDX,ALMOVAX,10MOVDX,CLK1OUTDX,ALMOVAL,AHOUTDX,ALRETPLAYENDPDELAYPROCPUSHCXMOVCX,0F5FHLOOP1:LOOPLOOP1POPCXRETDELAYENDPCODEENDSENDSTART七程序及硬件系统调试情况交通灯调试,自动控制8255开关关下后,均为黄灯,实现应急控制八实验总结经过本次微机原理课程设计,我了解

yy****24
实名认证
内容提供者


最近下载
一种胃肠道超声检查助显剂及其制备方法.pdf
201651206021+莫武林+浅析在互联网时代下酒店的营销策略——以湛江民大喜来登酒店为例.doc
201651206021+莫武林+浅析在互联网时代下酒店的营销策略——以湛江民大喜来登酒店为例.doc
用于空间热电转换的耐高温涡轮发电机转子及其装配方法.pdf
用于空间热电转换的耐高温涡轮发电机转子及其装配方法.pdf
用于空间热电转换的耐高温涡轮发电机转子及其装配方法.pdf
用于空间热电转换的耐高温涡轮发电机转子及其装配方法.pdf
用于空间热电转换的耐高温涡轮发电机转子及其装配方法.pdf
用于空间热电转换的耐高温涡轮发电机转子及其装配方法.pdf
论《离骚》诠释史中的“香草”意蕴.docx