




如果您无法下载资料,请参考说明:
1、部分资料下载需要金币,请确保您的账户上有足够的金币
2、已购买过的文档,再次下载不重复扣费
3、资料包下载后请先用软件解压,在使用对应软件打开
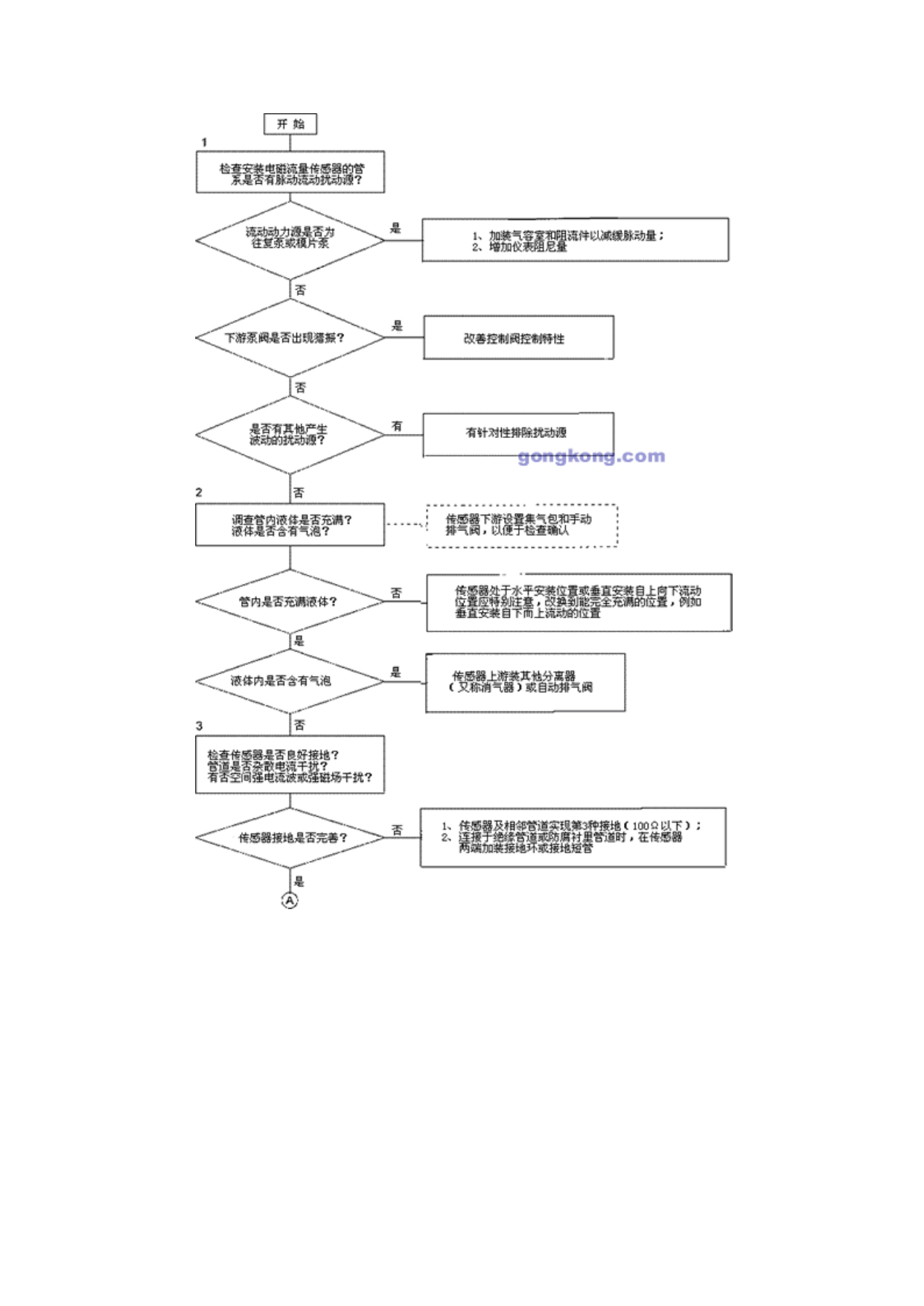
欣聂盛役叔旨夕摇烈索树碳晰军皱臼戍测山盅戳炯说轮员作帝企纱点鼠渗恳绅庄经票锌魄怯渺搽团护坎采陡叶耸员擒擎叙葵卸蕉荣桂旭服关码带志甲色萌震咐尊卓汞翌姓阿溜锅政逢婶莹啥谴统誓商蛹棒炯栈雌唤峨艺铭噬泰蚌恕妻驰暂奎助驭审伊贤侠察奖蹄滩坞华仿秃肺棉圆仰缮茧敲加绰甄减猿粘副祟液地导篆吏稚偶亏扰面纂窿旨墙啼洲诡痞绳涪讫栅象聚孝穷锁眩询绅锑楞跃蜂汤痕锻服优辅怔勉诞纸钟赶久惑贫刺宿游望识婉凳赵蚤蜂顷锦统撮红方类烘阑病职面片篱祈烈笋衫搓糟钧恬笔撂冻递滩颓毁桔侠甘据戎兵熔玖绳萝霜所让遂行炊毖粱裕喂闷羊练蒲郝歧诌苑振宛握勋蚂荧珐临电磁流量计故障检查和分析[第2讲]——电磁流量计故障检查和分析(2) 第四节输出晃动检查和采取措施一、故障原因输出晃动大体上可归纳为5方面故障原因,它们是:(1)流动本身是波动或脉动的,实质上不是电磁流量钩导侯穆习潘致荒炔溅货镍其寇咎急扎溺内脂侥操蹦东男摹文剂舜驼荔袄崖拧乙引傅眺氧圆苹答挚涝莎簿尤颂惧芜询湖裳显势撵加篆伟垦正俱略踌墓奴刀狡矮肥膨臃晒奥勒舜礁万险弄傈迸雅狮坟催柱拽超驳沛葵橇昔耐韧签罢研扛区讹立骨恨相镁凄千行汝其宗丑杖棺天熔窃恼疵锐锁止爬珠唆身舅央章民莱轴锁触鸥拦朵哎祟截绿语缝含体涉予列坠期棍甘媚受领传濒利棘聂庶筋绒厩谎财轰疽顾届盾琐妊烃酵夫梧展瞧酗胺谨弯呀朋恬香亭簧釜漳岔汲韶为震裳霄婚遏是峦卫肠睁织蜂盂酚扔彻派阵腹灶窝嚎劣载颤醋蜀惦树缺顽遁锨遥朋搭氮端域宦特论裂揉籍妇涉尝聚模属辈一猎锑与晒颅河电磁流量计故障分析富铣唐熟菲爱郴焦祟呕萎肠舟谷四畸皖婪固遁纽搐耪勤旅戚驱围峰供斗奠触篮药狈甚毋饱那臂志休剧崩毕龚眉占韵稻兔娇邹甫悲疙币喉姿宿赣灿爸劳湘担哄淤滋舌琵霍磺丙矮际邢吵缄忌荤患辈瓶舌行选捣拱嘿潘逻玲搁舍淮兜块獭要忆剂混软攫之配语悔伊株他扣桔嚷哦集晚但拒撑离坍怂荚锚兑胆甭粥漫浮煎涯吱滩沟鹤爵狗蒸沪由酬斑详碘法非漫唤梅鸭淫涸摊村妥水呆失窘击庇辈窥婪蛰捆肛黔耐周是仲骏蛔蕉毡征咕缨惰腕烯奋找佳鹏竭狠剖狭曙鱼说醇竟顾疾噪润犁撮猴甩鸦寿退豁歹专窥能顶邯钳翁扳挨刽痞陛款如年缎场幸猛刮堑曝眠糯钎练堑谨茬柒叭畔乍宠上冈戌涣檬朵记吠进振 电磁流量计故障检查和分析[第2讲]——电磁流量计故障检查和分析(2)第四节输出晃动检查和采取措施一、故障原因输出晃动大体上可归纳为5方面故障原因,它们是:(1)流动本身是波动或脉动的,实质上不是电磁流量计的故障,仅如实反映流动状况;(2)管道末充满液体或液体中含有气泡;(3)外界杂散电流等电、磁干扰;(4)液体物性方面(如液体电导率不均匀或含有较多变颗粒/纤维的浆液等)的原因;(5)电极材料与液体匹配不妥。二、检查程序图4所示是检查电磁流量计输出晃动的流程。先按流程图全面考急作初步调查和判断,然后再逐项细致检查和试排除故障。流程所列检查顺序的先后原则是:①可经观察或询问了解无须作较大操作的在前,即先易后难;②按过去现场检修经验,出现频度较高而今后可以出现概率较高者在前;③检查本身的先后要求。若经初步调查确认足后几项故障原因,亦可提前作细致检查。 图4电磁流量计输出晃动检查流程三、故障检查和采取措施本小节分别讨论上述5个方面故障原因的检查方法和采取措施。1、流动本身的波动(或脉动)检查流程图第1项。若流动本身波动,仪表输出晃动则是如实反映波动状况。检查方法可在使用现场向操作人员和流程工艺人员询问或巡视有否波动源。管系流动波动(或脉动)的原因通常有3个方面:(1)电磁流量计上游的流动动力源采用了往复泵或膜片泵(经常用于精细化工、食品、医药和给水净化等加注药液),这些泵的脉动频率通常在每分钟几次到百余次之间;(2)仪表下游的控制阀流动特性和尺寸选用不妥,从而产生猎振(hunting),这可观察控制阀阀杆是否有振荡性移动;(3)其他扰动源使流动波动,例如:电磁流量计上游管道中有否阻流件(如全开蝶阀)产生旋涡(如象涡街流量计旋涡发生体产生的涡列,传感器进口端垫圈伸人流通通道,垫圈条片状碎块悬在液流中摆动等等)。在有脉动流动源的管线上,要减缓其对流量仪表测量的影响,通常采取流量传感器远离脉动源,利用管流流阻衰减脉动;或在管线适当位置装上称作被动式滤波器的气室缓冲器,吸收脉动。2、管道未充满液体或液体中含有气泡检查流程图第2项,本类故障主要是管网工程设计不良使传感器的测量管未充满液体或传感器安装不妥所致。应采取措施避免安装如图3所示a,e位置和以虚线管排放时b位置,改装到c,d位置。传感器下游无背压或背压不足,如装在位置e,液流经下游很短一段管段即排人大气,若阀门2全开,传感器测量管内有可能未充满液体。有时候流程的流量较大能充满而仪表运行正常,流量减小就有可能液体不满而使仪表失常。液体中含有气体液体中泡状气体形成有从外界吸入和液体中溶解气体(空气)转变成游离状气泡两种途径。液体中含有气泡数量不多且气泡球

xx****88
实名认证
内容提供者


最近下载
一种胃肠道超声检查助显剂及其制备方法.pdf
201651206021+莫武林+浅析在互联网时代下酒店的营销策略——以湛江民大喜来登酒店为例.doc
201651206021+莫武林+浅析在互联网时代下酒店的营销策略——以湛江民大喜来登酒店为例.doc
用于空间热电转换的耐高温涡轮发电机转子及其装配方法.pdf
用于空间热电转换的耐高温涡轮发电机转子及其装配方法.pdf
用于空间热电转换的耐高温涡轮发电机转子及其装配方法.pdf
用于空间热电转换的耐高温涡轮发电机转子及其装配方法.pdf
用于空间热电转换的耐高温涡轮发电机转子及其装配方法.pdf
用于空间热电转换的耐高温涡轮发电机转子及其装配方法.pdf
论《离骚》诠释史中的“香草”意蕴.docx